シリーズ
B1.8271
ミニコンパクトクランプ
ラインアップ情報
説明
B 1.8271 ミニコンパクトクランプ
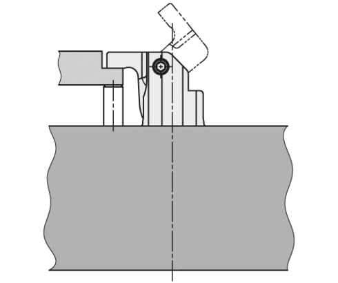
ミニコンパクトクランプは、油圧クランプ治具において作動油が治具本体の油路を通じて供給される用途向けに設計されています。
22mmの小さなハウジング径により、従来は油圧クランプの設置が困難だった狭いスペースにも取り付け可能です。複数クランプ治具の場合、シリンダー間の最小ピッチは28mmです。ワークにクランプレバーよりもやや広いクランプ凹部があれば十分です。
油圧ミニコンパクトクランプは、直線ストロークの一部をクランプレバーをワークに向けて下げる動作に利用する複動式シリンダーです。サイズを最小化するため、通常の固定用フランジは省略されています。代わりに、カートリッジ型穴径方向スロットに2つのクランプが嵌合します。取付け時、これらのクランプは上側からアクセス可能なセットスクリューで径方向に拡張されます。これにより、クリアランスなしでクランプ力が補償されます。
ミニコンパクトクランプは、カートリッジ型穴内で360°回転可能です。
ビデオ
製品 (1)
読み込み中…
| アイテム番号 | CADデータ | Typ | Funktionsweise | max. Betriebsdruck [bar] | Dichtungen | |
|---|---|---|---|---|---|---|
|
アイテム番号
|
CADデータ
|
プロパティ
|
読み込み中…
アイテム番号
Typ
Mini-Kompaktspanner
Funktionsweise
doppelt wirkend
max. Betriebsdruck [bar]
200
Dichtungen
NBR und PUR
hydraulische Anschlüsse
für gebohrte Kanäle
Gehäusebauform
Einsteckausführung
Positionskontrolle
ohne
Druckbereich
Hochdruck
Spannhebel
kurzer Spannhebel
Spannhub [mm]
5
durchgehende Kolbenstange
ohne
max. Spannkraft [kN}
1.3
Metallabstreifkante
mit
アクセサリー (3)
| アイテム番号 | CADデータ | 商品の説明 |
|---|---|---|
|
アイテム番号
|
CADデータ
|
商品の説明
Mounting body
for mini compact clamp 1800-110
connecting thread G 1/8
max. operating pressure 200 bar
as per data sheet B1.8271
|
|
アイテム番号
|
CADデータ
|
商品の説明
O-ring 8 x 1.5 mm, NBR
as per data sheet B1.5091
|
|
アイテム番号
|
CADデータ
|
商品の説明
Plastic cover for M6
as per data sheet B1.853
|
読み込み中…
アプリケーション例
アプリケーション例1
Clamping of a cast part
登録
初めてご利用ですか?
ログインエリアの無料特典をご利用ください:
- CADデータのダウンロード
- 取扱説明書をダウンロードする
ログイン
お帰りなさい
お帰りなさい!すでに登録済みのユーザーアカウントにログインしてください
読み込み中…
CADデータの読み込みに中にエラーが発生しました。インターネット接続を確認し、再度お試しください
ご注意:当社のCADデータは簡略化されたデータで、製品の外形と接続部分を表示しています(利用規約もご参照ください)。許容誤差を含む正確な寸法については、特に取付け穴や特殊クランプなどの取付け具に関する情報については、必ず該当するカタログシートをご参照ください。'
読み込み中…
予期せぬエラーが発生しました。ページを再読み込みするか、後で再度お試しください

