Hydraulic high-pressure hoses
max. operating pressure 250/500 bar
Application
High-pressure hoses are used for energy and signal transmission in hydraulic systems. Especially when connecting movable elements, but also for the connection of hydraulic subassemblies which are not fixed on a common base, e.g. power units and clamping fixtures.
Hose structure
Depending on operating pressure and nominal diameter, high-pressure hoses consist of one or several layers of wire or textile mesh or spiral inlays.
1: Inner tube
2: Inlay
3: Cover
4: Hose wall
5: Insulation layer
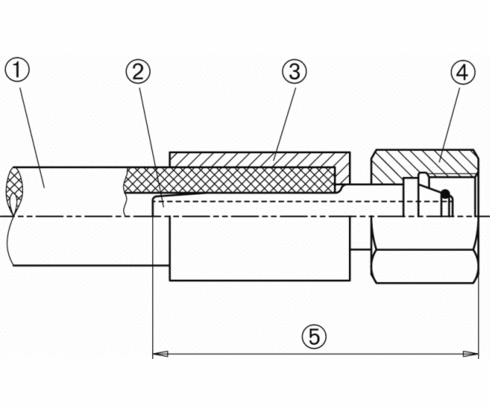
Hose connection
After pressing of the hose fittings at both ends the high-pressure hose is ready for connection.
1: Hose
2: Nipple
3: Holder
4: Union nut
5: Hose fitting
Service life / installation instructions
The application time including storage time should not exceed 6 years, the net storage time 2 years.High temperatures, frequent motion cycles or high pulse frequencies can reduce the application time.
Maintenance
Before putting into operation and then at least once a year, the high-pressure hoses have to be checked by an expert if they are still leak-proof.
Marking hose
on the hose there is the following marking:
- name or code of the manufacturer
- number of European standard
- type
- nominal diameter
- quarter and the last two figures of the year of manufacture
Marking fitting
on the fitting there is the following marking:
- name or code of the manufacturer
- month of manufacture
- the last two figures of the year of manufacture
- nominal pressure PN of the hose fitting
- part number of the complete hydraulic hose
Important notes
We deliver only completely pressed high-pressure hoses with mounted union nut.Pipe sockets with removable cutting ring and union nut are no longer allowed.
| Item no. | CAD data | type | type | max. operating pressure [bar] | |
|---|---|---|---|---|---|
|
Item no.
|
CAD data
|
Properties
| |||
|
Item no.
|
CAD data
|
Properties
| |||
|
Item no.
|
CAD data
|
Properties
| |||
|
Item no.
|
CAD data
|
Properties
| |||
|
Item no.
|
CAD data
|
Properties
| |||
|
Item no.
|
CAD data
|
Properties
| |||
|
Item no.
|
CAD data
|
Properties
| |||
|
Item no.
|
CAD data
|
Properties
| |||
|
Item no.
|
CAD data
|
Properties
| |||
|
Item no.
|
CAD data
|
Properties
|
Take advantage of the free benefits of our login area:
- CAD data download
- Download operating instructions
Welcome back! Log in to your already existing user account.


