Position flexible clamping claw
with optional position monitoring
max. operating pressure 250 bar
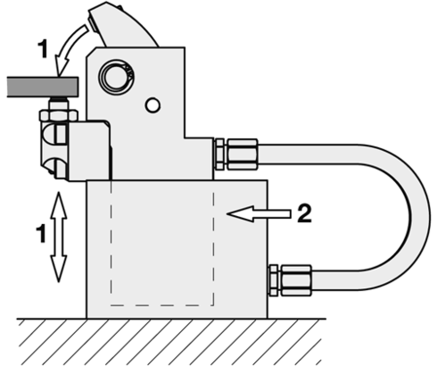
Position flexible clamping elements can be used for supporting and clamping of unstable workpiece sections. They adapt themselves to the position of the clamping point without deforming them. They cushion vibrations and compensate machining forces from all directions.
The position flexible clamping claw consists of an U-shaped mounting body and the displacably embedded clamping unit with oil supply by two short high-pressure hoses with swarf protection.
In the movable clamping unit a double-acting hydraulic cylinder is integrated, whose clamping force is introduced through the clamping lever by 180° into the workpiece support.
This support is height-adjustable to clamp workpieces of different thickness. After the clamping process the still displaceable clamping unit will be locked by a single-acting cylinder in the mounting body. To control the clamping lever an inductive or pneumatic position monitoring can be delivered.
| Item no. | CAD data | type | functioning | max. operating pressure [bar] | seals | |
|---|---|---|---|---|---|---|
|
Item no.
|
CAD data
|
Properties
| ||||
|
Item no.
|
CAD data
|
Properties
|
| Item no. | CAD data | Description |
|---|---|---|
|
Item no.
|
Description
O-ring 8 x 1.5 mm, FKM
as per data sheet B1.5091
|
|
|
Item no.
|
CAD data
|
Description
Screw plug VSD G1/4 A
max. 400 bar, as per data sheet F9.300
|
|
Item no.
|
CAD data
|
Description
Connecting cable
with pnp right angle plug M8
with 2 LED, cable length 5m
as per data sheet G2.140
|
|
Item no.
|
CAD data
|
Description
Inductive proximity switch M8x1 mm
type B, compact
as per data sheet B1.552
|
|
Item no.
|
CAD data
|
Description
Location for position transmitter "End of clamping stroke"
as per data sheet B1.733
|
|
Item no.
|
CAD data
|
Description
Pneumatic jet M8 x 1 mm
with lock nut
for position flexible clamp
as per data sheet B1.733
|
In a double clamping fixture four oil sumps for cars.
Each oil sump is additionally clamped and supported at a forth clamping point.
Take advantage of the free benefits of our login area:
- CAD data download
- Download operating instructions
Welcome back! Log in to your already existing user account.



